about-3 back-contact back-deep eitaa کانال روبیکاخبرگزاری سایبربان
مطالب پربازدید
تأثیر
1404/11/23 - 17:54- سایرفناوری ها

تأثیر کمبود تراشه‌های حافظه بر عرضه رایانه‌های شخصی

گروه لنوو چین در مورد افزایش فشار بر عرضه رایانه‌های شخصی به دلیل کمبود فزاینده تراشه‌های حافظه هشدار داد.

هشدار
1404/10/01 - 10:44- جنگ سایبری

هشدار روزنامه اسرائیلی درباره جنگ سایبری با ایران

روزنامه اسرائیلی معاریو پس از یک سری حملات هکری علیه شخصیت‌های ارشد سیاسی و نهادهای دولتی، درباره جنگ سایبری با ایران و تشدید نفوذها هشدار داد.

آماده‌سازی
1404/09/11 - 08:18- تروریسم سایبری

آماده‌سازی رژیم صهیونیستی در حوزه فناوری برای جنگ احتمالی بعدی با ایران

رژیم صهیونیستی در حال آماده‌سازی طیف جدیدی از سلاح‌ها و فناوری‌های جدید برای جنگ بعدی با ایران است.

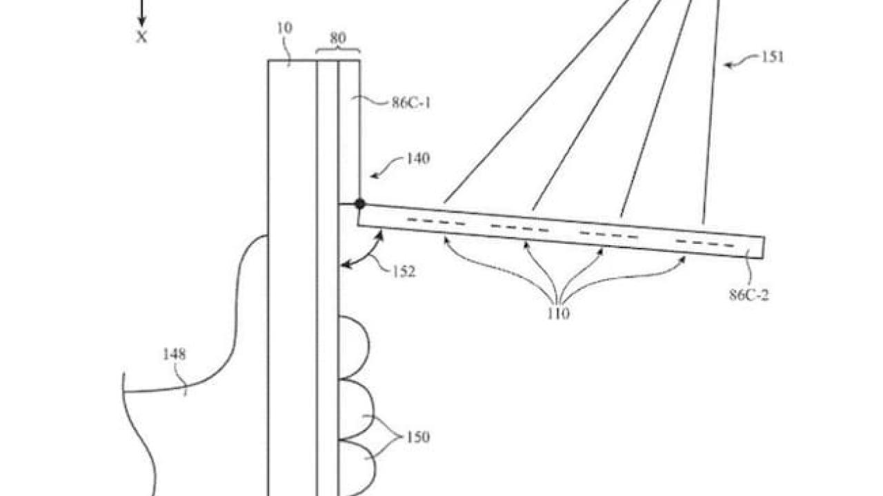
یک پتنت تازه فاش‌شده نشان می‌دهد اپل احتمالاً روی قاب ویژه‌ای برای آیفون و آیپد کار می‌کند که می‌تواند کیفیت ارتباط ماهواره‌ای را به شکل محسوسی افزایش دهد.

به گزارش کارگروه فناوری اطلاعات سایبربان ؛ یک پتنت تازه فاش‌شده نشان می‌دهد اپل احتمالاً روی قاب ویژه‌ای برای آیفون و آیپد کار می‌کند که می‌تواند کیفیت ارتباط ماهواره‌ای را به شکل محسوسی افزایش دهد. این قاب دارای آنتن‌های اختصاصی و طراحی تاشو برای اتصال بهتر به ماهواره‌ها است.

اپل در سال ۲۰۲۴ درخواست ثبت اختراعی با عنوان قاب مجهز به قابلیت ارتباط ماهواره‌ای ثبت کرده که حالا جزئیات آن منتشر شده است. ایده اصلی ساده اما کاربردی به نظر می‌رسد؛ یک قاب جداشدنی که به آنتن‌های پیشرفته‌تر مجهز است و می‌تواند سیگنال ماهواره‌ای قوی‌تری نسبت به آنتن داخلی دستگاه فراهم کند.

بهبود سیگنال ماهواره‌ای آیفون با قاب مخصوص

طبق اطلاعات موجود در پتنت، این قاب دارای بخشی تاشو است که کاربر می‌تواند آن را باز کرده و به سمت آسمان قرار دهد. درون این بخش یک آرایه آنتن فازی تعبیه شده که برای دریافت بهتر سیگنال طراحی شده است. این ساختار دو مزیت مهم دارد؛ اول اینکه زاویه‌گیری مستقیم به سمت ماهواره را ممکن می‌کند و دوم اینکه دست کاربر مانع دریافت سیگنال نمی‌شود، چون بخش آنتن در قسمت جداگانه‌ای قرار دارد.

بر اساس توضیحات اپل، قاب موردنظر می‌تواند به گروهی از ماهواره‌ها متصل شود و از طریق کانکتور یا حتی فناوری‌هایی مانند NFC با دستگاه اصلی تبادل داده داشته باشد. این یعنی قاب به سادگی نصب و جدا می‌شود و دردسر چندانی نخواهد داشت.

فراموش نکنید ثبت پتنت الزاماً به معنی عرضه محصول نیست. شرکت‌هایی مانند اپل سالانه ده‌ها ایده مفهومی را ثبت می‌کنند که بسیاری از آن‌ها هرگز به مرحله تولید نمی‌رسند. بنابراین فعلاً این قاب ماهواره‌ای در حد ایده به نظر می‌رسد.

Paragraphs
اپل

موضوع:

تازه ترین ها
میزبانی
1404/12/02 - 10:52- هوش مصنوعي

میزبانی ژنو در اجلاس جهانی هوش مصنوعی ۲۰۲۷

ژنو میزبان اجلاس جهانی هوش مصنوعی در سال ۲۰۲۷ خواهد بود.

لایحه
1404/12/02 - 10:39- تروریسم سایبری

لایحه جدید امنیت سایبری رژیم صهیونیستی: تعهدات و اختیارات تازه

رژیم صهیونیستی پیش‌نویس لایحه امنیت سایبری ملی در سال 2026 را منتشر کرد که شامل تعهدات جدید، مراجع اجرایی و پیامدهای گسترده است.

احتمال
1404/12/02 - 10:16- سایرفناوری ها

احتمال قطع دسترسی میلیون‌ها ایرانی به فیلترشکن به‌دلیل توقف تأمین مالی آمریکا

بر اساس گزارش وب‌سایت فناوری TechRadar، ممکن است میلیون‌ها کاربر در ایران از هفته آینده به دلیل کاهش یا توقف بودجه حمایتی آمریکا، دسترسی خود به برخی ابزارهای عبور از فیلترینگ (VPN) را از دست بدهند.